Электроприводы AIRS LF-5

AIRS

Тип: LF-5

Тип электропривода: с возвратной пружиной

Область применения: управление воздушными клапанами

Крутящий момент: 5 Нм

Описание
Как купить
Оплата
Доставка

Описание

Электроприводы AIRS LF


Электроприводпредназначен для управления воздушными клапанамисистем вентиляции зданий и сооружений.

Характеристики AIRS LF230-S



Принцип действия
Приподаче напряжения питаниявал привода приводитстворку клапана в рабочее положение и одно- временно взводится возвратная пружина. При прекращении подачи питания энергия, запасенная в пружине, возвращает створку клапана в охранное положение.

Монтаж
Электропривод легко устанавливается непосредственно на вал створки клапана 8..16 мм с помощью универсального крепежного хомута и закрепляется с помощью специального фиксатора. К корпусу клапана электропривод крепитсяпри помощи универсальной крепежной пластины или на клепку.

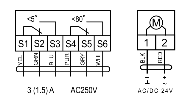
Сигнализация положений
Электропривод содержит встроенный переключатель для сигнализации положения створки при углах поворота на 5° или 85°. Промежуточное положение определяется по механическому указателю.



Схема подключения AIRS LF230-S


Характеристики AIRS LF24-S




Принцип действия
Приподаче напряжения питаниявал привода приводитстворку клапана в рабочее положение и одно- временно взводится возвратная пружина. При прекращении подачи питания энергия, запасенная в пружине, возвращает створку клапана в охранное положение.

Монтаж
Электропривод легко устанавливается непосредственно на вал створки клапана 8..16 мм с помощью универсального крепежного хомута и закрепляется с помощью специального фиксатора. К корпусу клапана электропривод крепитсяпри помощи универсальной крепежной пластины или на клепку.

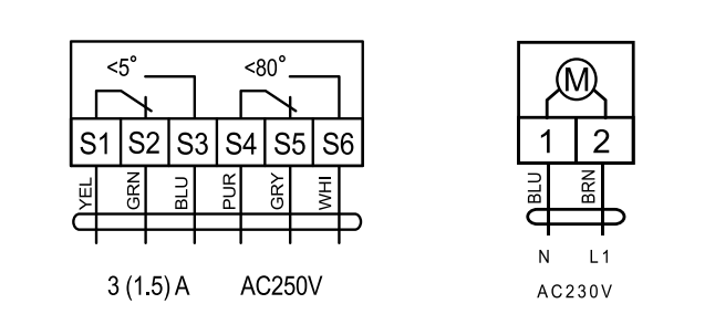
Сигнализация положений
Электропривод содержит встроенный переключатель для сигнализации положения створки при углах поворота на 5° или 85°. Промежуточное положение определяется по механическому указателю.



Схема подключения AIRS LF24-S


Как купить

Оставить запрос на производство и доставку Вы можете любым удобным для Вас способом:


  • Оформить запрос через форму на сайте
  •  Оформить заявку по почте info@атмис.рф
  •  Связаться с нашим менеджером по телефону 8 (812) 642-95-72

После получения запроса с Вами свяжется специалист для уточнения всех деталей.


Мы обработаем Ваш запрос и составим коммерческое предложение.

Оплату Вы производите после заключения договора а мы подготавливаем оборудование к отгрузке.

Оплата

Оплата заказа


  • Сделки осуществляются только с юридическими лицами.

Все заказы юридических лиц сопровождает специалист, который обеспечит резервирование заказа и его сборку до поступления платежа на расчетный счет.

Оплата доставки


  • Сроки и стоимость доставки в регион рассчитывается модулем транспортных компаний партнеров.
  • Стоимость доставки оплачиваться отдельно и не включается в сумму заказа.

Доставка

Доставка по Москве и Санкт-Петербургу


  •  Бесплатная доставка по Санкт-Петербургу и Москве при заказе от 50 000 руб.
  • Самовывоз со склада

Доставка по России


  •  Отправка транспортной компанией*
  • Самовывоз со склада.

*Расходы, связанные с перемещением до терминала ТК в Москве или Санкт-Петербурге, осуществляются за наш счет, независимо от объема оборудования. Мы заботимся о качестве обслуживания, поэтому гарантируем оперативное и эффективное сотрудничество.
Смотрите также